
Stainless Steel Tap 不锈钢龙头
CT191G Atlas 阿特拉斯
产品选购和安装流程

产品颜色

产品描述
精选 304 不锈钢原材料,健康卫生;
抽拉式出水嘴设计,出水范围大;
双出水方式,切换方便;
历经多道手工抛光工序,纹路细腻,极具质感;
高性能进口陶瓷阀芯,提供超长使用寿命;
多种表面处理外观,完美搭配石英石水槽。
产品参数
产地 | 中国 |
材质 | 不锈钢 |
类型 | 单柄抽拉带花洒冷热水龙头 |
阀芯材料 | 陶瓷 |
花洒头 | 双出水方式带止回阀 |
起泡器 | 意大利Amfag起泡器 |
进水软管材料 | 不锈钢软管 |
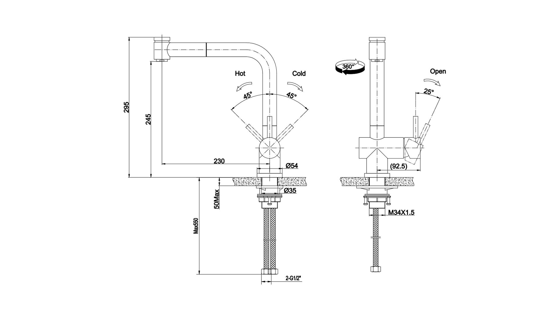
出水管长度 | 230mm |
出水管高度(龙头底座到出水口高度) | 249mm |
龙头高度(龙头底座到龙头顶部高度) | 300mm |
龙头底座尺寸 | ∅ 54mm |


产品售后服务说明



不锈钢龙头
CT191G(中国)
2025 - 07 - 17
扫描二维码分享到微信